Το σεσουάρ που δεν κάνει θόρυβο

Το σεσουάρ που δεν κάνει θόρυβο

 

Mπορεί στον τομέα των smartphones, laptops και λοιπών gadgets η τεχνολογική πρόοδος τα τελευταία χρόνια να είναι μεγάλη, στον τομέα των οικιακών -ή προσωπικής φροντίδας- συσκευών ωστόσο, δε συμβαίνει κάτι αντίστοιχο. Λίγες είναι οι κατασκευάστριες που καινοτομούν και μία από αυτές είναι, αναμφίβολα, η Dyson.

Η εταιρεία του εφευρέτη Sir James Dyson, που μας έχει προσφέρει μία σειρά από πρωτοποριακές προτάσεις όπως η ηλεκτρική σκούπα χωρίς σακούλα ή ο ανεμιστήρας χωρίς πτερύγια, τώρα θέλει να αλλάξει και το στεγνωτήρα μαλλιών (aka πιστολάκι ή σεσουάρ).

Ο πρώτος ηλεκτρικός στεγνωτήρας μαλλιών κατασκευάστηκε το 1890 από ένα Γάλλο κουρέα, ενώ τα πρώτα σεσουάρ χειρός έκαναν την εμφάνισή τους και άρχισαν να γίνονται δημοφιλή στις ΗΠΑ στη δεκαετία του ’20. Από τότε, ωστόσο, ο βασικός σχεδιασμός της συσκευής έχει παραμείνει ίδιος, χωρίς σημαντικές παρεμβάσεις.

Σύμφωνα με μία νέα πατέντα που έχει καταθέσει η Dyson, όμως, θέλει να αλλάξει ό,τι γνωρίζατε για ένα στεγνωτήρα μαλλιών, στοχεύοντας στην κατασκευή ενός αθόρυβου μοντέλου, το οποίο έχει ήδη “βαπτιστεί” από κάποιους ως HairBlade (παίζοντας με το όνομα του στεγνωτήρα χεριών AirBlade της εταιρείας). Ένα σεσουάρ παράγει θόρυβο περίπου 70 decibel, ο οποίος, σε κάποιες περιπτώσεις, μπορεί να αποδειχθεί ιδιαίτερα ενοχλητικός, δεδομένου ότι πρόκειται για μία μικροσυσκευή που χρησιμοποιούμε για την προσωπική μας φροντίδα. Τώρα, η Dyson θέλει να κάνει τη συσκευή πιο αθόρυβη από ποτέ…

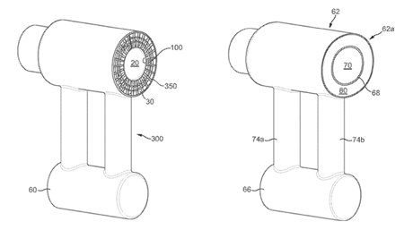
Η πατέντα εξηγεί ότι η μείωση του θορύβου επιτυγχάνεται με την επιμήκυνση της διαδρομής του αέρα μέσω της συσκευής με τη βοήθεια ενός path σε σχήματος S, αλλά και τη χρήση νέων υλικών. Στο δίπλωμα ευρεσιτεχνίας υπάρχει, μάλιστα, και ένα σκίτσο – που μπορεί να μην είναι απαραίτητα ενδεικτικό του πώς θα είναι σχεδιαστικά το τελικό προϊόν, αλλά μας δίνει μία ιδέα του concept του.

Η Dyson δεν έχει σχολιάσει τη διαρροή της πατέντας, αναφέροντας απλά ότι οι μηχανικοί της εργάζονται συνεχώς πάνω σε νέες εφευρέσεις, ωστόσο απ’ ό,τι φαίνεται η εταιρεία είναι έτοιμη να “μεταμορφώσει” ακόμη μία μικροσυσκευή που χρησιμοποιούμε. Επόμενος στόχος;

 

Πηγή:digitallife.gr

 

 

 

Μοιράσου το:

σχολίασε κι εσύ

ENIKOS NETWORK