Η Apple είχε κατοχυρώσει πατέντα για smartwatch από το 2011
Όπως ανακοινώθηκε από το Γραφείο Eυρεσιτεχνιών των ΗΠΑ, η Apple είχε κατοχυρώσει πατέντα για μια φορητή έξυπνη συσκευή καρπού χειρός από το 2011.
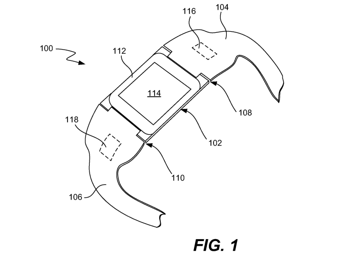
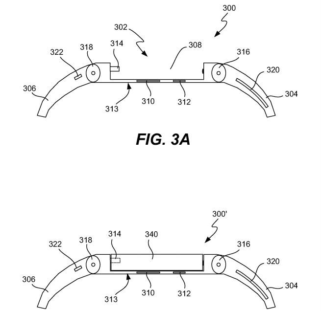
Η ευρεσιτεχνία είχε ονομασία iTime και πρόκειται για ένα smartwatch με τετράγωνη οθόνη, δυνατότητα χειρισμού μέσω αφής, αλλά και δέκτη GPS.

Παρόμοια με το Android Wear, η συσκευή αυτή συνδέεται με κάποια άλλη συσκευή της εταιρίας (iPhone, iPad), ενώ η λογική που κατοχυρώθηκε η πατέντα, ήταν σαν να έχει ο χρήστης στο χέρι του ένα iPod Nano.

Η συγκεκριμένη συσκευή μπορούσε να λειτουργήσει και χωρίς το ηλεκτρονικό λουράκι, αλλά με αυτό μπορούσε ο χρήστης να εκμεταλλευτεί τις δυνατότητες του smartwatch.
Το λουράκι φαίνεται να είναι κι αυτό “smart” αναγνωρίζοντας τις κινήσεις του χρήστη, ενώ ενδιαφέρον έχει η σχεδιαστική άποψη των μηχανικών της Apple τρία χρόνια πριν.
ΠΗΓΗ: e-pcmag.gr